
WeiHai YongXin Chemical Machinery Co.,Ltd.

磁力驅動(dong)(dong)是(shi)近年來開發(fa)的一種新型(xing)傳動(dong)(dong)密(mi)封技術(shu)。
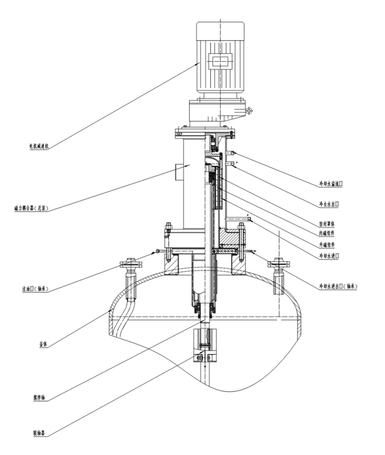
磁(ci)力不銹鋼反(fan)(fan)應(ying)(ying)釜的(de)(de)(de)(de)關鍵部(bu)件(jian)磁(ci)力耦合傳(chuan)(chuan)動(dong)器是(shi)一種利用永磁(ci)材料(liao)(liao)進行耦合傳(chuan)(chuan)動(dong)的(de)(de)(de)(de)傳(chuan)(chuan)動(dong)裝(zhuang)置,改變了(le)(le)傳(chuan)(chuan)統的(de)(de)(de)(de)必須過攪拌軸的(de)(de)(de)(de)動(dong)密(mi)封(feng)(feng)結(jie)構為(wei)靜(jing)(jing)密(mi)封(feng)(feng)結(jie)構,釜內(nei)攪拌部(bu)件(jian)完全(quan)在釜體靜(jing)(jing)密(mi)封(feng)(feng)腔內(nei)部(bu)旋(xuan)轉,不伸出釜體外部(bu),徹底解(jie)決(jue)了(le)(le)填料(liao)(liao)密(mi)封(feng)(feng)和機械密(mi)封(feng)(feng)因動(dong)密(mi)封(feng)(feng)而造成的(de)(de)(de)(de)無法克(ke)服的(de)(de)(de)(de)泄露(lu)問題(ti),使(shi)反(fan)(fan)應(ying)(ying)介質絕無任何泄露(lu)和污(wu)染,是(shi)國(guo)內(nei)目前進行高(gao)(gao)溫、高(gao)(gao)壓下的(de)(de)(de)(de)化學反(fan)(fan)應(ying)(ying)最為(wei)理想的(de)(de)(de)(de)裝(zhuang)置,特別是(shi)進行易(yi)燃(ran)、易(yi)爆、有(you)毒(du)介質的(de)(de)(de)(de)化學反(fan)(fan)應(ying)(ying),更加顯示出它的(de)(de)(de)(de)優(you)越性。
用稀土永(yong)(yong)磁(ci)制作的強磁(ci)回轉(zhuan)式(shi)(shi)耦合結構(磁(ci)力驅動裝(zhuang)置(zhi)(zhi)),磁(ci)力驅動裝(zhuang)置(zhi)(zhi)的基本制造材料均為鐵磁(ci)性(xing)物質,磁(ci)導率極佳(jia),磁(ci)場在穿過用于密封合金層時幾乎沒有損耗(hao)。由此外部驅動永(yong)(yong)磁(ci)體(ti)產生的旋轉(zhuan)磁(ci)場可以有效被內(nei)部永(yong)(yong)磁(ci)體(ti)轉(zhuan)子接受(shou),進而帶動反應器內(nei)的攪拌部件進行(xing)物料混合,攪拌速度(du)為0~300r/min,甚至更高,可配推進、槳式(shi)(shi)、錨式(shi)(shi)、框式(shi)(shi)、螺帶等各種槳。
磁(ci)力耦合攪拌(ban)反(fan)應釜是機械密(mi)封(feng)、填(tian)料密(mi)封(feng)反(fan)應釜的(de)全新替代產品,適(shi)用于化(hua)工、制(zhi)藥、染料及微生物工程等行業,尤(you)其(qi)適(shi)用于工作(zuo)介(jie)質易(yi)燃易(yi)爆、有毒(du)及加氫、高壓、高真空、高速(su)攪拌(ban)等其(qi)他常見(jian)密(mi)封(feng)無法使用的(de)化(hua)學反(fan)應。