
WeiHai YongXin Chemical Machinery Co.,Ltd.

磁(ci)力驅動(dong)是近年來開發的(de)一種新型傳(chuan)動(dong)密(mi)封技術。
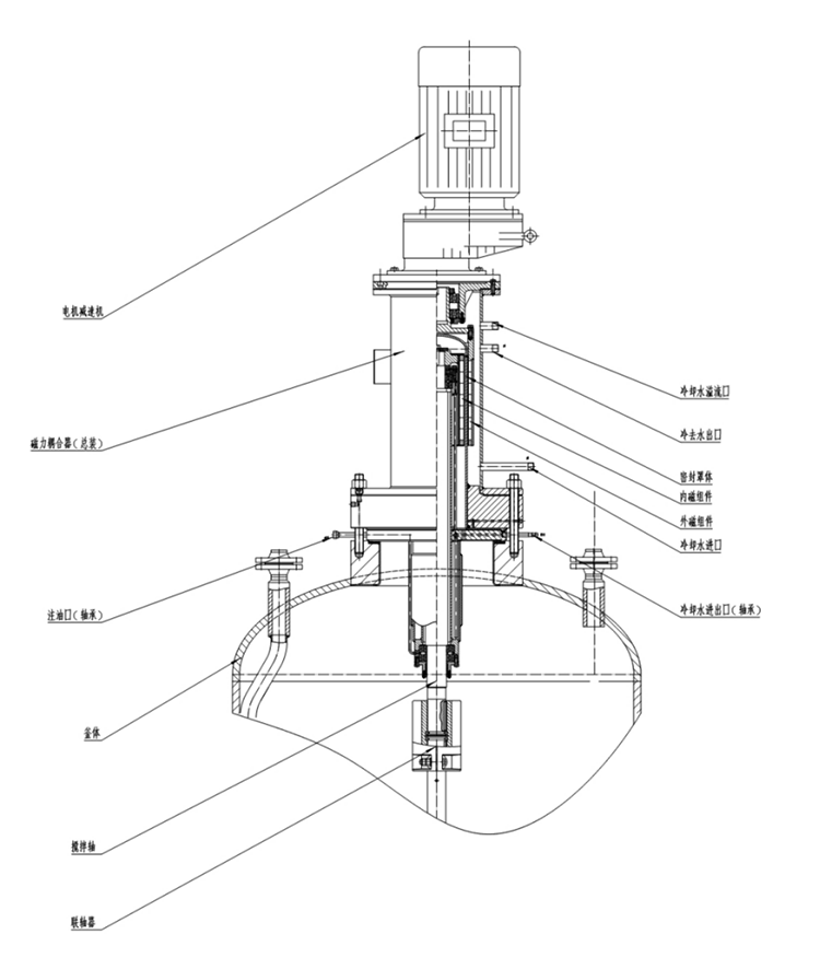
磁力不銹鋼反應釜(fu)的(de)(de)關鍵部(bu)(bu)件磁力耦合(he)傳動器是(shi)一種(zhong)利用永磁材料進行(xing)(xing)耦合(he)傳動的(de)(de)傳動裝置,改(gai)變了(le)傳統的(de)(de)必須過(guo)攪拌軸的(de)(de)動密(mi)(mi)封結構為(wei)靜密(mi)(mi)封結構,釜(fu)內攪拌部(bu)(bu)件完(wan)全在釜(fu)體(ti)靜密(mi)(mi)封腔內部(bu)(bu)旋轉,不伸出釜(fu)體(ti)外部(bu)(bu),徹(che)底解決了(le)填料密(mi)(mi)封和(he)機械密(mi)(mi)封因動密(mi)(mi)封而造成的(de)(de)無法克服的(de)(de)泄露問題,使反應介質(zhi)絕無任何泄露和(he)污(wu)染,是(shi)國內目(mu)前進行(xing)(xing)高溫、高壓下(xia)的(de)(de)化學(xue)反應最為(wei)理(li)想的(de)(de)裝置,特別是(shi)進行(xing)(xing)易燃、易爆、有毒介質(zhi)的(de)(de)化學(xue)反應,更加顯示出它的(de)(de)優越性。
用稀土永磁(ci)(ci)制(zhi)作的(de)強(qiang)磁(ci)(ci)回轉式(shi)耦合(he)(he)結構(gou)(磁(ci)(ci)力(li)驅(qu)動(dong)裝(zhuang)置(zhi)(zhi)),磁(ci)(ci)力(li)驅(qu)動(dong)裝(zhuang)置(zhi)(zhi)的(de)基本制(zhi)造(zao)材料均為(wei)鐵磁(ci)(ci)性物(wu)質,磁(ci)(ci)導率極佳(jia),磁(ci)(ci)場(chang)在穿過用于密封合(he)(he)金層(ceng)時幾乎(hu)沒有損耗(hao)。由(you)此(ci)外(wai)部驅(qu)動(dong)永磁(ci)(ci)體產生的(de)旋轉磁(ci)(ci)場(chang)可以有效被內部永磁(ci)(ci)體轉子(zi)接受,進(jin)而(er)帶動(dong)反應器內的(de)攪拌部件進(jin)行物(wu)料混合(he)(he),攪拌速度為(wei)0~300r/min,甚至更高,可配推進(jin)、槳式(shi)、錨式(shi)、框(kuang)式(shi)、螺帶等(deng)各種(zhong)槳。
磁力耦合攪(jiao)拌反(fan)(fan)應(ying)釜(fu)是機械(xie)密(mi)封(feng)、填料密(mi)封(feng)反(fan)(fan)應(ying)釜(fu)的全(quan)新替代產品,適(shi)用于(yu)化工、制藥、染料及微生物(wu)工程(cheng)等行業(ye),尤其適(shi)用于(yu)工作介質易(yi)(yi)燃易(yi)(yi)爆(bao)、有毒及加(jia)氫、高壓、高真空、高速攪(jiao)拌等其他常見密(mi)封(feng)無法使用的化學反(fan)(fan)應(ying)。